2. 南京大学大气科学学院, 南京 210023;
3. 相城区气象局, 苏州 215132
苏州地处中国大陆东部沿海,位于北亚热带湿润的季风气候区内,自然条件优越,年平均气温在16.0 ℃左右,年降雨量约为1100 mm。全市总面积为8488.42 km2,其中丘陵面积225 km2,水域面积3609 km2,市区建成区面积约为228.31 km2。凭借着优越的地理位置、良好的发展理念和经济发展模式,苏州经济高速发展,2014年国民生产总值已达1.35万亿元左右,位于全国同类城市前列。伴随经济的高速发展,城市化进程日益加快,吸引着越来越多的人落户苏州,截至2014年底全市户籍在册人口约661.08万人,流动人口也在690万左右,现代化的城市规模以及大量聚集的人口使得苏州城市化进程急剧加速。城市热岛(Urban Heat Island,UHI)是最突出的城市气象问题,表现为城市的温度高于郊区,国内外许多城市对城市热岛有过系统的研究(陈榛妹,1991; 白虎志等,1997; 张一平等,2001; 陈燕等,2004; 杜川利和余兴,2013; 郑祚芳等,2014; 周雅清和任国玉,2014; 宋玉强等,2014; 樊高峰等,2015; 朱焱等,2010)。城市空气污染是城市最重要的大气环境问题,城市热岛和城市空气污染之间存在密切的相互作用(徐祥德,2002),城市热岛改变了城市的热环境,改变了大气扩散能力,热岛产生的热岛环流对城市风场也有明显影响,因此城市热岛必将对城市污染扩散产生影响。近年,苏州地区年度霾日居高不下,在前期着手进行的苏州城市化进程与城市气候变化关系等系列研究中(朱焱等, 2009,2012),已经表明苏州城市热岛现象的显现以及城市霾的频发与快速的城市化有着必然联系。
从城市环境对污染扩散的影响来看,主要分为热力作用和动力作用,热力作用即城市地表类型改变以及人为热释放导致的城市热岛对污染扩散的影响,动力作用即城市建筑对气流的拖曳作用,使得城市风速下降,大气扩散能力降低(吕梦瑶等,2011; 钱俊龙等,2013)。在城市气象环境的模拟研究中,一般认为以城市热岛和城市风速降低为主要代表的城市气象特征,使得城市地区大气扩散能力减弱,加剧了城市地区的空气污染。因此,本文以苏州为着眼点,通过对城市热力作用和动力作用的区分研究,分析了苏州城市热岛对污染扩散的影响,从而为下一步城市规划布局决策服务提供依据。
2 数值模式和方案设计数值模式采用最新版本的南京大学空气质量预报系统(NJU-CAQPS)(刘红年等,2009),该模式系统由中尺度气象预报模式(WRF)、精细边界层模式(CBLM)和大气污染输送化学模式(ACTDM)三大模块组成(房小怡等,2004),其中CBLM是三维非静力高分辨、湍流闭合的城市精细大气边界层模式,该模式在地表能量平衡方程中加入城市人为热源影响,在动量方程和湍能方程中增加了城市建筑的拖曳项,使之能够更准确地模拟城市气象特征,反映城市的局地热力影响和动力强迫作用; ACTDM是包含多物质输送、扩散、化学转化、干湿沉积的污染物浓度预报模式,可给出多种污染物(SO2、NOX、TSP、PM10、PM2.5、O3、CO和气溶胶主要成分硫酸盐、硝酸盐、铵盐、黑碳、有机碳)的三维浓度变化,由气溶胶成分浓度计算大气消光系数及能见度并进行霾判别。
数值模拟的模拟域及地表类型如图 1 所示,模式水平网格距为1 km,垂直为不等间距拉伸网格,地面附近网格距最小为5 m,模式顶高为3 km。气象场边界条件及初值采用WRF模式结果,污染物浓度场根据前一日的浓度监测数据取平均作为上游边界初始场,下游边界采用无梯度输出。
|
图 1 所取模拟范围和地表类型 1: 城市,2: 水体,3: 树林,4: 庄稼,5: 土壤(其他) Figure 1 The selected simulation area and the type of surface 1: city,2: water,3: woods,4: crops,5: soil |
本文设置case1和case2两组试验(表 1),在每组试验中,模拟时间选取在气候特征较为明显的2010年1、4、7、10月中旬,分别代表冬、春、夏、秋季。通过确定观测资料选取条件(排除降水日和观测资料不完整日),最终模拟日定为1月1014日,4月1014日,7月1316日、10月1114日,共18天。同时下垫面资料以研究购买的2006年地表类型为代表(通过与2010年苏州地区地表类型对比,两个年份下垫面状况基本一致)。在研究中,认定在所有个例中,排放源不变。在第二组个例中,设置人为热源为零,即去除了人为热源对城市热岛的贡献,同时将城市地表类型全部更改为农田类型,即去除了城市冠层和城市地表特征对城市热岛的影响,但保留了城市建筑对气流的动力学效应,因此通过两组个例计算结果的比较可以得出2006年地表类型下城市热岛对污染扩散的影响。
| 表 1 数值方案设计 Table 1 The design of the numerical solution |
钱俊龙等(2013)对比了case1的模拟结果与观测结果,认为总体模拟结果较好。因此文中不再对case1的模拟结果进行检验,着重分析case1和case2的差异,即城市热岛对污染扩散的影响。
3 结果分析 3.1 苏州城市热岛现状通过已有研究发现(朱焱等,2010),20世纪80年代中期苏州的城市热岛范围非常小,仅集中在老城区范围以内; 至90年代中期,除了主城区的热岛范围显著扩大以外,东部的苏州工业园区、昆山和南部的吴江也出现了较强的热岛效应; 而到了21世纪,热岛效应的影响范围快速扩大,蔓延到苏州研究区全境。1986、1995和2004年的热岛面积指数分别为4.87%、11.10%和37.87%。城市热岛效应快速显现的历程,与苏州快速化进程息息相关。同时,苏州的城市热岛效应分布状况是以市区为中心向周围呈放射状分布(朱焱等,2009),沿沪宁线、京沪铁路向东往昆山、上海方向伸展,沿沪宁线、京沪铁路向西北往无锡方向延伸,沿相城大道向北往相城区和常熟方向延伸,沿苏嘉杭高速向南往吴中区、吴江方向延伸,这与苏州城市分布及建设规模空间特征相一致。苏州地区20世纪80年代前霾天气十分罕见,80年代开始霾日开始增多,进入21世纪后年霾日激增屡屡突破百日,这与城市热岛发展状况比较相似(朱焱等,2012)。
3.2 城市热岛对气象场和垂直结构的影响图 2 给出了苏州城市热岛对地面气温和风场的影响。在不考虑人为热和城市地表热力性质后,市区和周边地区的温差较小(图 2a),较弱的热岛现象是因为背景气象场的模拟中没有在WRF中修改相应的地表类型,是有大尺度气象初始场的“遗留”城市热岛。两组个例地面气温之差,即城市热岛现象,平均热岛强度约为1.8 ℃(图 2c),图 2b 是case2中平均10 m风速,虽然该个例中没有城市热岛。但因为保留了城市建筑的动力学效应,因此城市中风速明显衰减。图 2d 是两组个例平均10 m风速之差,体现了城市热岛对地面流场的影响,由于热岛环流和城市上游流场风向相同,因此在上游方向,风速有明显增强,增加量达0.6 m·s-1,反之,在城市下游方向,热岛环流和城市下游流场风向相反,因此下游风速有明显减弱,减少量达0.5 m·s-1,热岛对流场的净效果引起气流向市区辐合,即热岛环流。
|
图 2 苏州城市热岛影响的平均地面气温及其差值(a、c,单位: ℃)、10 m风场及其差值(b、d,单位: m·s-1)分布 (a)case2平均地面气温,(b)case2平均10 m风速,(c)case1和case2平均地面气温之差(Tcase1-Tcase2),(d)case1和case2平均10 m风速之差(windcase1-windcase2) Figure 2 The distribution of the average ground temperature and its different value(a,c,unit: ℃),and 10 m wind speed and its different value(b,d,unit: m·s-1)from influence of urban heat island in Suzhou.(a)The average ground temperature of case2,(b)10 m wind speed,(c)Tcase1-Tcase2,(d)windcase1-windcase2 |
从存在城市热岛影响和模拟消除城市热岛影响两种情况下的苏州市区平均位温廓线(图 3)可看出,城市热岛使市区气温上升,相应地使市区位温高于郊区,市区位温的增加在地面最显著。在没有城市热岛时,在200 m高度以下,位温随高度缓慢增加,这时平均状态的大气稳定度是稳定的,总体上不利于污染物的垂直扩散,在有城市热岛时,200 m高度以下,位温廓线显示大气总体上是不稳定的,城市热岛使低层增温高于高层,增加了大气的不稳定性。
|
图 3 两组个例模拟的苏州市区平均位温廓线 Figure 3 The profile of urban average potential temperature in case1 and case2 in Suzhou |
从存在城市热岛影响和模拟消除城市热岛影响两种情况下的苏州市区平均垂直风速和水平风速廓线(图 4)可看出,消除热岛影响时,市区垂直风速很小,不超过0.02 m·s-1,微弱的抬升运动可能是由城市建筑引起的总体的气流“爬越”效应; 有城市热岛时,在城市形成热岛环流,市区为上升气流,平均垂直速度为正值,随高度增加,垂直速度也增加,在800 m高度垂直速度达到0.14 m·s-1。在100 m 高度以下,有无城市热岛对风速的影响很小,因为在case1和case2中,都考虑了城市建筑的动力学效应,即对风的拖曳阻尼作用。在近地层,这种动力学作用远高于热岛环流的影响; 在高层,有热岛时风速明显低于没有热岛时的风速,这是因为城市内热岛环流和城市建筑物的阻挡作用增加了垂直速度,使气流的水平动能转变为垂直动能,使
|
图 4 两组个例模拟的苏州市区平均垂直风速(a)和水平风速(b)廓线 Figure 4 The profile of urban average vertical wind velocity(a)and wind speed(b)in case1 and case2 in Suzhou水平风速减小。 |
总体而言,城市热岛增加了大气的不稳定性,产生了向市区辐合的热岛环流,加大了市区上空的垂直速度,这种影响实际上增加了城市大气的扩散能力。城市建筑的动力效应大幅度降低市区风速,使大气扩散能力减弱,热岛作用(热力作用)和建筑的动力作用相反,城市化发展(动力学效应+热力学效应)使大气扩散能力减弱,因此认为热岛的热力学效应小于建筑的动力学效应。
3.3 城市热岛对污染扩散的影响图 5和图 6 是苏州城市热岛对地面污染物浓度的平均影响,即case1和case2中所有个例平均的污染物浓度之差,城市热岛总体上使地面污染物浓度下降,城区PM10和PM2.5减少约5×10-9 kg·m-3,城区气溶胶各成分,如硫酸盐、硝酸盐、铵盐、黑碳、有机碳都有不同程度的减少。
|
图 5 苏州城市热岛对PM10(a)、PM2.5(b)、硫酸盐(c)和硝酸盐(d)浓度的影响(单位: 10-9 kg·m-3) Figure 5 The concentration of PM10(a),PM2.5(b),sulfate(c)and nitrate(d)from influence of urban heat island in Suzhou. Unit: 10-9 kg·m-3 |
|
图 6 苏州城市热岛对铵盐(a)、黑碳(b)、一次有机碳(c)和二次有机碳(d)浓度的影响(单位: 10-9 kg·m-3) Figure 6 The concentration of ammonium salt(a),black carbon(b),organic carbon(c)and secondary organic carbon(d) from the influence of urban heat island in Suzhou. Unit: 10-9 kg·m-3 |
图 7 是苏州城市热岛对地面能见度和AQI指数的影响,城市热岛使市区能见度增加约0.5 km,这是和城市热岛使污染物浓度下降相对应的。颗粒物浓度减少,大气消光增强,使能见度提高; 同时污染物浓度的降低使城市及周边地区AQI指数下降,下降幅度最大达25左右。
|
图 7 苏州城市热岛对能见度(a)和AQI指数(b)的影响 Figure 7 The influence of urban heat island in Suzhou on visibility(a)and AQI(b) |
图 8和图 9 是城市热岛对400 m高度污染物浓度和能见度的平均影响,即case1和case2中所有个例平均的污染物浓度之差,城市热岛使400 m高度污染物浓度普遍增加,PM10和PM2.5增加最大可分别达11×10-9 kg·m-3和9×10-9 kg·m-3左右,使硫酸盐、硝酸盐、铵盐、黑碳、有机碳分别增加约为1.2×10-9、0.4×10-9、0.25×10-9、2.0×10-9和3.5×10-9 kg·m-3,这是因为城市热岛形成的热岛环流增加了市区的上升气流速度和大气不稳定度,使污染物有向上输送扩散的趋势。由于城市热岛使400 m高度污染物浓度上升,因此相应地使400 m高度左右的水平能见度下降,下降幅度达0.65 km。
|
图 8 苏州城市热岛对400 m高度PM10(a)、PM2.5(b)、硫酸盐(c)和硝酸盐(d)浓度的影响(单位: 10-9 kg·m-3) Figure 8 The influence of urban heat island in Suzhou on concentration of PM10(a),PM2.5(b), sulfate(c)and nitrate(d)at 400 meters height. Unit: 10-9 kg·m-3 |
|
图 9 苏州城市热岛对400 m高度铵盐(a)、黑碳(b)、有机碳(c)浓度(单位: 10-9 kg·m-3)和能见度(d,单位: km)的影响 Figure 9 The influence of urban heat island in Suzhou on concentration(unit: 10-9 kg·m-3)of ammonium salt(a), black carbon(b),Organic carbon(c)and visibility(d,unit: km)at 400 meters height |
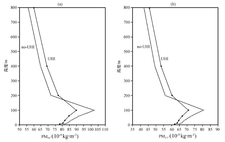
从城市热岛对苏州市区PM10和PM2.5垂直分布的影响(图 10)可看出,在180 m高度以下,城市热岛使PM10和PM2.5浓度下降,在180 m高度以上,使PM10和PM2.5浓度上升,这是因为城市热岛环流以及大气不稳定性增加,使得污染物垂直扩散增强,地面污染物向高空输送,因此低层浓度下降、高层浓度上升。
|
图 10 城市热岛对苏州市区PM10(a)和PM2.5(b)垂直分布的影响(case1~case2) Figure 10 The influence of urban heat island in Suzhou on vertical distribution of PM10(a)and PM2.5(b)(case1~case2) |
图 11 是城市热岛对市区硫酸盐、硝酸盐、铵盐、黑碳、有机碳和能见度垂直分布的影响。总体上,城市热岛使低层气溶胶各成分的浓度下降,使高层浓度上升,但各成分由下降转为增加的高度并不完全相同,硝酸盐低层增加的高度最高达380 m左右。城市热岛对能见度的影响和对污染物浓度的影响刚好相反,使低层能见度增加、高层能见度下降。
|
图 11 城市热岛对苏州市区硫酸盐(a)、硝酸盐(b)、铵盐(c)、黑碳(d)、有机碳(e)和能见度(f)垂直分布的影响(case1~case2) Figure 11 The influence of urban heat island in Suzhou on vertical distribution of sulfate(a),nitrate(b),ammonium salt(c), black carbon(d),organic carbon(e)and visibility(f)(case1~case2) |
(1)总体而言,城市热岛增加了大气不稳定性,产生向市区辐合的热岛环流,加大市区上空的垂直速度,这种影响实际上增加了城市大气的扩散能力。城市热岛总体上使地面污染物浓度下降,城区PM10和PM2.5减少约5×10-9 kg·m-3,城区气溶胶各成分如硫酸盐、硝酸盐、铵盐、黑碳、有机碳都有不同程度的减少,而地面AQI指数和能见度则相应增加,城市热岛使市区能见度增加约0.5 km。
(2)在180 m高度以上,城市热岛使PM10和PM2.5浓度上升,气溶胶各成分都有不同程度的增加,这是因为城市热岛环流以及大气不稳定性增加使得污染物垂直扩散增强,使地面污染物向高空输送,因此使低层浓度下降,高层浓度上升。城市热岛对能见度的影响和对污染物浓度的影响刚好相反,使低层能见度增加,高层能见度下降。
(3)城市热岛环流使400 m高度污染物浓度普遍增加,PM10和PM2.5增加最大可分别达11×10-9 kg·m-3和9×10-9 kg·m-3左右,使硫酸盐、硝酸盐、铵盐、黑碳、有机碳分别增加约为1.2×10-9,0.4×10-9,0.25×10-9,2.0×10-9和3.5×10-9 kg·m-3,同时相应使此高度层的水平能见度下降。
(4)城市建筑的动力效应大幅度降低市区风速,使大气扩散能力减弱,热岛作用(热力作用)和建筑的动力作用相反,城市化发展(动力学效应+热力学效应)使大气扩散能力减弱,因此可以认为热岛的热力学效应小于建筑的动力学效应。
| 白虎志, 张焕儒, 张存杰. 1997. 兰州城市发展对局地气候的影响[J]. 高原气象 , 16 (4): 410–416. Bai Huzhi, Zhang Huanru, Zhang Cunjie. 1997. The influences of Lanzhou urban development of local climate[J]. Plateau Meteor, 16 (4): 410–416. | |
| 陈燕, 蒋维楣, 吴涧, 等. 2004. 利用区域边界层模式对杭州市热岛的模拟研究[J]. 高原气象 , 23 (4): 519–528. Chen Yan, Jiang Weimei, Wu Jian, et al. 2004. A numerical simulation on Hangzhou City heat island using regional boundary model[J]. Plateau Meteor, 23 (4): 519–528. | |
| 陈榛妹. 1991. 兰州的城市热岛效应[J]. 高原气象 , 10 (1): 83–87. Chen Zhenmei. 1991. The heat island effect of Lanzhou[J]. Plateau Meteor, 10 (1): 83–87. | |
| 杜川利, 余兴. 2013. 气溶胶和城市热岛效应对秦岭地区近50年气温序列影响分析[J]. 高原气象 , 32 (5): 1321–1328. DOI:10.7522/j.issn.1000-0534.2012.00124 Du Chuanli, Yu Xing. 2013. Aanlysisi on influence of aerosol and urban heat island effect on temperature series in Qinling region in recent 50 years[J]. Plateau Meteor, 32 (5): 1321–1328. DOI:10.7522/j.issn.1000-0534.2012.00124 | |
| 樊高峰, 朱蓉, 张小伟, 等. 2015. 影响杭州城市高温因子的数值模拟研究[J]. 高原气象 , 34 (1): 137–144. DOI:10.7522/j.issn.1000-0534.2013.00109 Fan Gaofeng, Zhu Rong, Zhang Xiaowei, et al. 2015. Numerical simulation study of the factors influencing high temperature over Hangzhou[J]. Plateau Meteor, 34 (1): 137–144. DOI:10.7522/j.issn.1000-0534.2013.00109 | |
| 房小怡, 蒋维楣, 吴涧, 等. 2004. 城市空气质量数值预报模式系统及其应用[J]. 环境科学学报 , 24 (1): 111–115. Fang Xiaoyi, Jiang Weimei, Wu Jian, et al. 2004. Study on the development of numerical model system to predict urban air quality[J]. Acta Scientiae Circumstantiae, 24 (1): 111–115. | |
| 刘红年, 胡荣章, 张美根. 2009. 城市灰霾数值预报模式的建立与应用[J]. 环境科学研究 , 22 (6): 631–635. Liu Hongnian, Hu Rongzhang, Zhang Meigen. 2009. Development and application of urban haze numerical forecast model[J]. Res Environ Sci, 22 (6): 631–635. | |
| 吕梦瑶, 刘红年, 张宁, 等. 2011. 南京市灰霾影响因子的数值模拟[J]. 高原气象 , 30 (4): 929–941. Lü Mengyao, Liu Hongnian, Zhang Ning, et al. 2011. Numerical simulation of impact factors of urban haze in Nanjing area[J]. Plateau Meteor, 30 (4): 929–941. | |
| 钱俊龙, 刘红年, 唐丽娟, 等. 2013. 苏州城市灰霾及气溶胶对大气消光贡献的模拟研究[J]. 南京大学学报:自然科学版 , 49 (3): 311–319. Qian Junlong, Liu Hongnian, Tang Lijuan, et al. 2013. Numerical simulation of the urban haze and the contribution of aerosol to ambient light extinction in the Suzhou area, Jiangsu, eastern China[J]. J Nanjing University:Natural Sciences, 49 (3): 311–319. | |
| 宋玉强, 刘红年, 朱焱, 等. 2014. 城市非均匀性对城市气象特征影响的数值模拟[J]. 高原气象 , 33 (6): 1579–1588. DOI:10.7522/j.issn.1000-0534.2013.00080 Song Yuqiang, Liu Hongnian, Zhu Yan, et al. 2014. Numerical simulation of urban heterogeneity's influence on urban meteorological characteristic[J]. Plateau Meteor, 33 (6): 1579–1588. DOI:10.7522/j.issn.1000-0534.2013.00080 | |
| 徐祥德. 2002. 城市大气环境污染模型动力学问题[J]. 应用气象学报, 13(特刊1):1-12. Xu Xiangde. 2002. Dynamic Issues of Urban Atmospheric Pollution Models[J]. J Appl Meteor Sci, 13(supp 1):1-12. | |
| 张一平, 彭贵芬, 李佑荣, 等. 2001. 低纬高原地区城市化对室内外气温的影响研究[J]. 高原气象 , 20 (3): 311–317. Zhang Yiping, Peng Guifen, Li Yourong, et al. 2001. A study about urbanization effect on the indoor and outdoor air temperature of city on low-latitude plateau[J]. Plateau Meteor, 20 (3): 311–317. | |
| 郑祚芳, 高华, 王在文, 等. 2014. 北京地区降水空间分布及城市效应分析[J]. 高原气象 , 33 (2): 522–529. DOI:10.7522/j.issn.1000-0534.2012.00193 Zheng Zuofang, Gao Hua, Wang Zaiwen, et al. 2014. Analysis on spatial distribution of precipitation in Beijing and its city effect[J]. Plateau Meteor, 33 (2): 522–529. DOI:10.7522/j.issn.1000-0534.2012.00193 | |
| 周雅清, 任国玉. 2013. 城市化对华北地区极端气温事件频率的影响[J]. 高原气象 , 33 (6): 1589–1598. DOI:10.7522/j.issn.1000-0534.2013.00153.ZhouYaqing,RenGuoyu.2014.Urbanizationeffectonlong-termtrendsofextremetemperatureeventsinNorthChina[J].PlateauMeteor,33(6):1589-1598.DOI:10.7522/j.issn.1000-0534.2013.00153 DOI:10.7522/j. issn. 1000-0534. 2013. 00153[J]. Zhou Yaqing, Ren Guoyu. 2014. Urbanization effect on long-term trends of extreme temperature events in North China[J]. Plateau Meteor, 33 (6): 1589–1598. DOI:10.7522/j.issn.1000-0534.2013.00153.ZhouYaqing,RenGuoyu.2014.Urbanizationeffectonlong-termtrendsofextremetemperatureeventsinNorthChina[J].PlateauMeteor,33(6):1589-1598.DOI:10.7522/j.issn.1000-0534.2013.00153 | |
| 朱焱, 杨金彪, 朱莲芳, 等. 2012. 苏州城市化进程与城市气候变化关系研究[J]. 气象科学 , 32 (3): 317–324. Zhe Yan, Yang Jinbiao, Zhu Lianfang, et al. 2012. The investigation of the relationship between urbanization process and climate change in Suzhou[J]. Sci Meteor Sinica, 32 (3): 317–324. | |
| 朱焱, 朱莲芳, 徐永明, 等. 2010. 基于Landsat资料的苏州城市热岛效应遥感分析研究[J]. 高原气象 , 29 (1): 244–250. Zhu Yan, Zhu Lianfang, Xu Yongming, et al. 2010. Study on the urban heat island of Suzhou area based on Landsat remote sensing data[J]. Plateau Meteor, 29 (1): 244–250. | |
| 朱焱, 朱莲芳. 2009. 应用卫星资料分析苏州夏季城市热岛效应[J]. 气象科学 , 29 (1): 77–83. Zhu Yan, Zhu Lianfang. 2009. An analysis on summer urban heat island in Suzhou using satellite data[J]. Sci Meteor Sinica, 29 (1): 77–83. |
2. Nanjing University, Nanjing 210023, China;
3. Xiangcheng Meteorological Bureau, Suzhou 215132, China
2016, Vol. 35